Компания
Google не так давно презентовала свою инициативу по созданию очков дополненной реальности с временным именем
Project Glass. Идея эта вызвала массу споров, язвительных уколов со стороны креативной общественности и надсмешек со стороны конкурентов. Однако ни много ни мало уже целый ряд компаний сейчас создали лаборатории по созданию аналогичных устройств, относящихся к классу носимых компьютеров. Среди них такие IT-гиганты, как
Apple,
Sony и
Valve. И вот в эти дни происходит новая публикация, ошеломившая общественность – как выяснилось, еще 20 мая 2011 года компания
Microsoft зарегистрировала патент
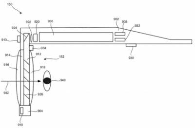
20120293548 на создание схожего с
Project Glass устройства.

Из публикации стало известно, что разработка ведется уже два года и получила название "
Event Augmentation with Real-Time Information". Ее суть заключается в создании очков дополненной реальности с более скромным функционалом, чем у G
oogle Project Glass. По задумке
Microsoft, пользователь с помощью данного устройства сможет просматривать по телевизору передачи, фильмы или спортивные события с применением технолгий, используемых в известном приложении
Microsoft SmartGlass Xbox Companion, и получать дополнительную информацию о биографии актеров, именах членов спортивной команды или вывести на экран карту гоночного трека.

Патент предусматривает определенную конструкцию очков, которая может использовать не только встроенный вычислительный модуль, но и в облегченном варианте может подключаться с помощью беспроводной связи к внешним модулям. Имеющийся микрофон и камеру на уровне переносицы между стеклами. На камеру возложена обязанность по распознаванию интерактивных ярлычков в видеозаписи по телевизору и других объектов, окружающих пользователя. Помогать в этом ей будут сенсоры температуры, передвижения и определения местоположения. Предусмотрены и наушники.

В патенте для "
Event Augmentation with Real-Time Information" указана возможность замены стекла на корректирующие линзы. Для сбережения зрения используются и другие технологии. Например, чтобы обеспечить нужную контрастность выводимой очками информации будет использоваться сенсор освещения, который автоматически снизит или увеличит яркость изображения. При этом данный сенсор может применять фильтрацию поступающего изображения извне, полностью затемняя стекла.

Собственно само изображение на стекла выводит не дисплей, а проектор через целую систему хитро установленных микрозеркал. Сами проекторы установлены в дужках очков. Вся конструкция гораздо проще, чем у очков
Project Glass, поскольку последние предназначены для повседневного использования и на улице в том числе, а проект
Microsoft рассчитан на использование в домашних условиях перед телевизором или экраном монитора.