В продукции Apple могут появиться изогнутые дисплеи с тактильной отдачей

13 декабря 2014г.
Применение гибких дисплеев в коммуникаторах остается лишь вопросом времени. Необходимые технологии вроде гнущихся OLED-панелей давно созданы наряду со специальными защитными материалами, также имеющими свойство восстанавливаться в исходное состояние без повреждений. Сложности вызывает техническое исполнение идеи создать гибкий, изогнутый или изгибаемый смартфон. Соответствующие попытки на рынке имеются. Тот же LG G Flex — изумительный пример новаторского подхода к видоизменению дизайна традиционного моноблока. Но чем же ответят другие производители?

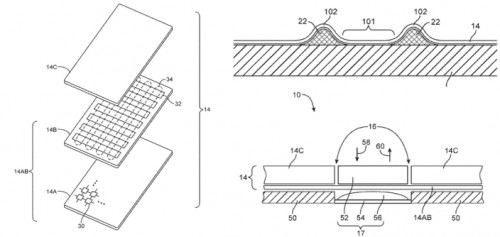
У главаря смартфонной «банды» Samsung Electronics инженеры сейчас активно занимаются линейкой GALAXY S6. Совершенно точно в ней не ожидается появления новых flexible-экранов. Но в рамках выставок и конференций о ведении таких разработок южнокорейский гигант сообщал уже не раз и даже показывал прототипы дисплеев, которые можно скручивать в трубочку. Но почему же до сих пор молчит Apple? Оказывается, не молчит. Сегодня в американском патентном бюро появилась заявка №8,855,727 «яблочной» компании на регистрацию конструкции гибкого экрана с возможностью тактильной отдачи сенсорного экрана при нажатиях. В зависимости от изображения поверхность дисплея может изменять свою структуру и форму под имитацию кнопок или панелек.

Похожая система, например, может в будущем применяться в смарт-часах Apple Watch. Эксперты уже предположили возможные перспективы подобного экрана. Например, для проводимости звука — под дисплеем можно разместить микрофон или динамик и использовать необычные свойства подложки для записи или передачи звуковых волн. Стоит отметить, что система тактильной отдачи лоббируется ведущими южнокорейскими производителями уже несколько лет кряду. Но до сих пор ни о какой финальной реализации даже речи не идет. Возможно мы еще нескоро увидим подобные технологии в коммерческих продуктах. Однако нельзя их сбрасывать со счетов — порой эволюция происходит неожиданно и стремительно.

По теме: Озвучены примерные сроки релиза следующего изогнутого смартфона LG G Flex 2